
Le géant de l’informatique Apple a fait une demande de brevet. Ils prétendent être capables de stocker l’énergie éolienne sous forme de chaleur, puis la relâcher à la demande afin de générer de l’électricité.
Apple : une véritable innovation en matière d’énergie éolienne ?

Une nouvelle solution pour stocker l’énergie ?
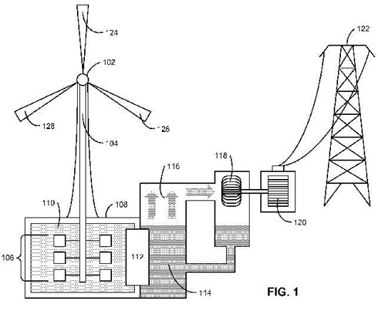
Le brevet, enregistré sous le titre « On-Demand Generation of Electricity from Stored Wind Energy » concerne un système éolien qui permet de stocker l’énergie et de la produire à la demande. L’énergie fournie par le vent serait stockée sous forme de chaleur grâce à un fluide caloporteur sous forme de joules.
Une turbine délivrerait l’énergie si nécessaire. Une invention importante quand on 
Apple : vers une stratégie verte ?
Depuis quelques années, Apple s’intéresse de plus en plus aux énergies renouvelables, surtout depuis le changement de directeur (Tim Cook). Apple a annoncé que son « data center » situé à Maiden en Caroline du Sud (Etats-Unis) devrait fonctionner grâce à des énergies propres et du combustible recyclé. En ce qui concerne l’éolien, le système n’a pas encore été mis en application, s’il peut réellement fonctionner, et il ne s’agit peut-être que d’une stratégie d’Apple visant à s’approprier des technologies dans un futur plus ou moins proche.
(Source : Apple Insider | Images : © CC, Andreas Klinke Johannsen, dhReno, Chris Vick)
*

A lire absolument

































Ils vont encore nous faire des usines à gaz aussi couteuses qu’inutiles.
si l’idée consiste en la production de chaleur par brassage d’un fluide caloporteur , les pionniers des énergies alors qualifiées de parallèles en ont déjà parlé dans les années 70 mais dans un but moins marchand puisqu’il s’agissait d’utiliser la chaleur dans le circuit de chauffage de l’habitation .On parle ici évidement de mini éolien ou d’éolien domestique mais cette vision n’intéresse pas les gros investisseurs donc pas de suite!!
il est grand temps de disposer d’énergie « verte » et moins couteuse, grace a Apple et son brevet ,d’autres fournisseurs suivront, l’effet » boule de neige ne peut qu’etre bénéfiques pour tous et surtout pour notre pauvre planéte.
« nous sommes incapables de stocker l’énergie éolienne »
C’est une fois encore une approche « journalistique n’importe quoi ».
Nous sommes incapable de stocker l’électricité en général point, et non juste l’éolien. Car si nous étions capable de stocker l’électricité, 50% du problème énergétique serait résolu voir plus.
De plus, les recherches en ce domaine, y compris le stockage sous forme de chaleur: rien de neuf et car il est même à l’étude depuis plus d’une décennie. On parle beaucoup de fluide à base de différents « sels » qui auraient les propriétés physiques plus intéressantes mais, ce n’est pas simple car cela pose une série de problèmes techniques, corrosion, stabilité, contrôle, couts, pollution, etc.) Et ceci pour l’éolien mais aussi les centrale solaires et d’autres.
Enfin ne simplifions pas trop, car il ne faut pas oublier le transport, qui coûte cher car les déperditions sont énormes sur la distance.
Ce n’est pas tout d’avoir des productions, voir des hypothétiques stockages, il faut encore qu’il ne se situent pas trop loin.
L’hydrogène est également dans la course depuis longtemps mais peine à résoudre une série de difficulté (sécurité entre autre), cependant il reste un bon candidat.
Il va sans dire que celui qui trouvera une solution relativement bon marché, simple, à mettre en œuvre et prenant peu de place deviendra le prochain Edison et sera le plus riche.
Oubliez les « batteries » au sens classique du terme, car techniquement c’est non rentable, non applicable et l’avenir est compromis dû au manques de ressources naturelles des métaux rares qui se produira d’ici 20 à 30 ans, adieu les voitures et autres joujous électriques (à moins de trouver une autre solution).
Mais lorsque ce génie aura fait sont apparition, le monde changera c’est sur. (Ceci dit de la manière la plus sérieuse)
Bonne année 2013
Bonjour,
merci de votre intervention, j’ai modifié l’article.
Merci, l’article est maintenant plus proche de la réalité et par conséquent, bien utile pour aider le commun des mortels à comprendre. 🙂
exactement !
si c’est la guerre en afghanistan ça n’est ni pour le pétrole ni pour le gaz !!!
c’est pour le Lithium employé dans les batteries dernière génération.
Et comme vous le dites, le jour où ces métaux rares auront disparus ce sera fini pour l’electrique !!!
et ne me faites pas croire aux filières de recyclage d’une batterie d’I-phone, j’y crois pas !
salut à tous, est-ce que quelqu’un veut bien faire un petit tour du net au sujet de « On-Demand Generation of Electricity from Stored Wind Energy »…l’histoire de voir si c’est bidon, j’ai pas trop le temps??? perso j’en ai jamais entendu parlé, et ça fait bien 10ans que je m’intéresse (en novice) à la question de l’énergie durable…négawatt et autre.
Apple et NRJ, je trouve ça louche… à suivre
Bonne idée et si apple s’y met cela va fonctionner
Une remarque toutefois, on sait stoker l’énergie produite par des éoliennes si on s’en sert pour produire de l’hydrogene. C’est ce qui se dessine un peu partout dans le monde, sauf en France bien sur….
Je nuancerais.
Pour reprendre les idées Négawatt:
1- d’abord la réduction de la demande en NRJ, vivons sobrement.
2- l’efficacité, rénovons les logements. Voitures et autres équipements doivent fonctionner avec moins d’NRJ
3- en tout dernier, le besoin en NRJ devra être assuré par des techniques durables.
Donc, dans cette ordre la, l’hydrogène produit durablement pourrait être intéressant comme moyen de stockage.
L’hydrogène a des avantages, c’est certain…cette solution fera probablement parti du mixe énergétique un jour, mais de manière complémentaire et à mon avis marginale.
faux l’utilisation de l’hydrogène ne sera pas marginale mais principale !
l’emploi de l’energie solaire ou éolienne permettra la production d’hydrogène qui lui pourra être stocké contrairement à l’electrique. l’islande fait fonctionner ses bus avec l’hydrogène, BMW fait fonctionner une voiture à l’hydrogène, ça n’est qu’une question de volonté et surtout de taxes que ne pourront plus percevoir les gouvernements où en tous les cas plus difficilement et avec le risque de productions parrallèles .